028-84386818
首页
产品中心
智能压力传感器
脉动压力传感器
超高精度压力传感器
微型智能压力传感器
孔隙水渗透压力传感器
超高压大量程智能压力传感器
压力温度复合型传感器
储存型压力监测传感器
土壤含水量传感器
矿用LED液晶显示型压力传感器
真空压力传感器
智能集线器
压力流程同步采集仪
智能浪高仪
压力式智能浪高仪
电容式智能浪高仪
超声波浪高仪
压力浪高同步采集仪
动态信号测试
高精度动态信号采集仪(CR6200)
动态信号采集仪(CR6300)
低噪声动态信号采集仪(CR6400)
隔离型动态信号采集器(CR5107)
瞬态信号测试
宽带多通道瞬态信号采集仪(CR6261)
标准瞬态信号采集仪(CR5206)
无线瞬态信号采集仪(CR6262)
移动式瞬态信号采集仪(CR6251)
激光光幕靶
激光区截弹丸测速系统
火箭撬无线测速/测时系统
柔性梳状靶
一体化爆轰测时仪
坚固型爆轰测时仪
多参数同步器
标准时间间隔发生器
高速IEPE数据采集器
离子火焰探针
电探针
动态信号测试系统
长距离传输智能压力监测系统
就地存储监测系统
管道内油气-粉尘爆炸特性测试
脉动压力测试系统
安全工程危化品性能模拟试验系统
多单元电池组充放电监测系统
瞬态信号测试系统
冲击应变测试系统
空化噪声/水下噪声测试系统
Hopchson 杆测试系统
电磁发射装置多参数测试系统
自由场超压测试系统
火炸药爆炸压力测试系统
枪械发射环境参数测试系统
测试专用设备
冷镦机搓牙机终端监测
超声导波无损检测仪
锚杆锚固质量检测仪
推力测试系统
机动车被动安装测试系统
水声信号测试分析系统水声检波器
激光转速传感器
脉冲信号时间间隔测量仪
系统软件
DAP瞬态信号测试软件
Smartsensor压力测试软件
PFM动态信号采集软件
NoisA空化噪声测试软件
HDA高精度动态数据测试分析软件
浪高仪测试分析软件
标定系统
物联网解决方案
采砂船监测项目采集智能节点方案
温度压力智能节点
垃圾站垃圾卸载门监测系统
洒水车阀门开关监测系统
应用案例
压力传感器
爆炸与冲击
动态监测
安全工程与防灾应急
激光测速
智能节点
无线动态信号测试分析系统
智能节点属于物联网感知层,我们提供各类智能传感器、物联网关采集器定制研发,包括压力、温度、湿度、气体等。
冲击波、冲击应变、噪声、飞行速度、振动、温度、后座力、后座行程等多参数测试系统,直接得到爆炸压力P-t曲线。
技术支持
测试服务
驱动下载
在线培训
操作指南
技术文章
7*24h 技术支持
关于胜英
公司简介
公司资质
公司新闻
成都胜英一直致力于测量测试仪器、软件的设计、研发、制造,提供专业定制的测量测试解决方案。
联系我们
联系我们
淘宝官方旗舰店
24h服务热线:028-84386818
应用案例
CASE
压力传感器
爆炸与冲击
动态监测
安全工程与防灾应急
激光测速
智能节点
无线动态信号测试分析系统
联系我们
CONTACT US
首页
>
应用案例
>压力传感器
岩心渗透率测试
2019-03-27 09:14:18
岩心渗压测试—西南石油大学油气藏地质及开发工程国家重点实验室
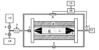
岩心渗压测试设计图
1、2、3、4、5阀门;6、差压传感器;7、CY201;8、径向围压;9、轴向围压;10、数字电压表;11、12上下游标准室;13、真空泵、14、平流泵;15、计算机及接口路线选用理由→CY201以其高精度、高稳定性弥补了模拟传感器精度低,测试不稳定的缺陷。
上一篇:
脉动压力测试系统
下一篇:
西南交通大学陆地交通地质灾害防治技术国家工程实验室